Collection: Marine & Fishing
Explore Our Marine and Fishing Collection
Discover a wide range of essential marine and fishing equipment designed for various water activities:
- Port Marker Buoys: Ensure clear navigation with our durable port marker buoys, perfect for marking port entrances and channels.
- Ski Lane Markers: Enhance safety on the water with our ski lane markers, designed to clearly designate ski lanes for water sports enthusiasts.
- Starboard Buoys: Mark your starboard side with our reliable starboard buoys, essential for safe navigation in maritime environments.
- Small and Large Mussel Floats: Secure your mussel lines with our small and large mussel floats, crafted for buoyancy and durability in aquaculture settings.
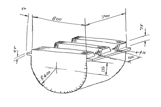
- Pontoons: Choose from half round or standard size pontoons for versatile floating platforms, ideal for marinas, docks, and water recreation areas.
TT Plastics offers premium marine and fishing equipment to enhance your water adventures. Shop now and experience the quality and reliability of our products.
-
Port Marker Buoy
Regular price $505.00Regular priceUnit price / perSale price $505.00 -
Ski Lane Markers
Regular price $436.00Regular priceUnit price / perSale price $436.00 -
Starboard Buoys
Regular price $505.00Regular priceUnit price / perSale price $505.00 -
Mussel Floats
Regular price From $189.00Regular priceUnit price / perSale price From $189.00 -
Small Mussel Float
Regular price $189.00Regular priceUnit price / perSale price $189.00 -
Pontoon Half Round
Regular price $449.00Regular priceUnit price / perSale price $449.00 -
Pontoon – Standard
Regular price $598.00Regular priceUnit price / perSale price $598.00


